Токарные PCBN пластины типа CCGW
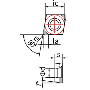
Технические характеристики
| ISO-код | ANSI-код | Тип кромки | Формирование кромки | Длина режущей кромки | Диаметр отверстия | Толщина | Радиус при вершине | Длина вершины | H | K | S |
| ic | Ød | s | r | la | |||||||
| CCGW2(1.5)(0.5) | 2N | Стандартная | 6.35 | 2.8 | 2.38 | 0.2 | 2.2 | ● | ● | ● | |
| CCGW2(1.5)1 | 0.4 | ||||||||||
| CCGW2(1.5)2 | 0.8 | ||||||||||
| CCGW2(1.5)(0.5) | 2N | Зачистная (Wiper) | 6.35 | 2.8 | 2.38 | 0.2 | 2.2 | ● | ● | ● | |
| CCGW2(1.5)1 | 0.4 | ||||||||||
| CCGW2(1.5)2 | 0.8 | ||||||||||
| CCGW2(1.5)(0.5) | 2N | Стружколом | 6.35 | 2.8 | 2.38 | 0.2 | 2.2 | ● | ● | ● | |
| CCGW2(1.5)1 | 0.4 | ||||||||||
| CCGW2(1.5)2 | 0.8 | ||||||||||
| CCGW2(1.5)(0.5) | 2N | Стандартная | 6.35 | 2.8 | 2.38 | 0.2 | 3 | ● | ● | ● | |
| CCGW2(1.5)1 | 0.4 | ||||||||||
| CCGW2(1.5)2 | 0.8 | ||||||||||
| CCGW2(1.5)(0.5) | 2N | Зачистная (Wiper) | 6.35 | 2.8 | 2.38 | 0.2 | 3 | ● | ● | ● | |
| CCGW2(1.5)1 | 0.4 | ||||||||||
| CCGW2(1.5)2 | 0.8 | ||||||||||
| CCGW2(1.5)(0.5) | 2N | Стружколом | 6.35 | 2.8 | 2.38 | 0.2 | 3 | ● | ● | ● | |
| CCGW2(1.5)1 | 0.4 | ||||||||||
| CCGW2(1.5)2 | 0.8 | ||||||||||
| CCGW3(2.5)(0.5) | 2N | Стандартная | 9.525 | 4.4 | 3.97 | 0.2 | 2.2 | ● | ● | ● | |
| CCGW3(2.5)1 | 0.4 | ||||||||||
| CCGW3(2.5)2 | 0.8 | ||||||||||
| CCGW3(2.5)3 | 1.2 | ||||||||||
| CCGW3(2.5)(0.5) | 2N | Зачистная (Wiper) | 9.525 | 4.4 | 3.97 | 0.2 | 2.2 | ● | ● | ● | |
| CCGW3(2.5)1 | 0.4 | ||||||||||
| CCGW3(2.5)2 | 0.8 | ||||||||||
| CCGW3(2.5)3 | 1.2 | ||||||||||
| CCGW3(2.5)(0.5) | 2N | Стружколом | 9.525 | 4.4 | 3.97 | 0.2 | 2.2 | ● | ● | ● | |
| CCGW3(2.5)1 | 0.4 | ||||||||||
| CCGW3(2.5)2 | 0.8 | ||||||||||
| CCGW3(2.5)3 | 1.2 | ||||||||||
| CCGW3(2.5)(0.5) | 2N | Стандартная | 9.525 | 4.4 | 3.97 | 0.2 | 3 | ● | ● | ● | |
| CCGW3(2.5)1 | 0.4 | ||||||||||
| CCGW3(2.5)2 | 0.8 | ||||||||||
| CCGW3(2.5)3 | 1.2 | ||||||||||
| CCGW3(2.5)(0.5) | 2N | Зачистная (Wiper) | 9.525 | 4.4 | 3.97 | 0.2 | 3 | ● | ● | ● | |
| CCGW3(2.5)1 | 0.4 | ||||||||||
| CCGW3(2.5)2 | 0.8 | ||||||||||
| CCGW3(2.5)3 | 1.2 | ||||||||||
| CCGW3(2.5)(0.5) | 2N | Стружколом | 9.525 | 4.4 | 3.97 | 0.2 | 3 | ● | ● | ● | |
| CCGW3(2.5)1 | 0.4 | ||||||||||
| CCGW3(2.5)2 | 0.8 | ||||||||||
| CCGW3(2.5)3 | 1.2 | ||||||||||
| CCGW43(0.5) | 2N | Стандартная | 12.7 | 5.5 | 4.76 | 0.2 | 2.2 | ● | ● | ● | |
| CCGW431 | 0.4 | ||||||||||
| CCGW432 | 0.8 | ||||||||||
| CCGW433 | 1.2 | ||||||||||
| CCGW43(0.5) | 2N | Зачистная (Wiper) | 12.7 | 5.5 | 4.76 | 0.2 | 2.2 | ● | ● | ● | |
| CCGW431 | 0.4 | ||||||||||
| CCGW432 | 0.8 | ||||||||||
| CCGW433 | 1.2 | ||||||||||
| CCGW43(0.5) | 2N | Стружколом | 12.7 | 5.5 | 4.76 | 0.2 | 2.2 | ● | ● | ● | |
| CCGW431 | 0.4 | ||||||||||
| CCGW432 | 0.8 | ||||||||||
| CCGW433 | 1.2 | ||||||||||
| CCGW43(0.5) | 2N | Стандартная | 12.7 | 5.5 | 4.76 | 0.2 | 3 | ● | ● | ● | |
| CCGW431 | 0.4 | ||||||||||
| CCGW432 | 0.8 | ||||||||||
| CCGW433 | 1.2 | ||||||||||
| CCGW43(0.5) | 2N | Зачистная (Wiper) | 12.7 | 5.5 | 4.76 | 0.2 | 3 | ● | ● | ● | |
| CCGW431 | 0.4 | ||||||||||
| CCGW432 | 0.8 | ||||||||||
| CCGW433 | 1.2 | ||||||||||
| CCGW43(0.5) | 2N | Стружколом | 12.7 | 5.5 | 4.76 | 0.2 | 3 | ● | ● | ● | |
| CCGW431 | 0.4 | ||||||||||
| CCGW432 | 0.8 | ||||||||||
| CCGW433 | 1.2 |
Марки PCBN и режимы резания
| Рекомендации по обработке | H | K | S | ||||
| Марка PCBN | BNH10C | BNH20C | BNH30C | BNK10 | BNK20 | BNS10 | BNS20 |
| Материал заготовки | закаленная сталь | закаленная сталь | закаленная сталь | чугун | высокопрочный чугун | порошковые материалы | порошковые материалы |
| Скорость резания (Vc) | 180 (150-250) м/мин | 100 (50-150) м/мин | 80 (30-120) м/мин | 600 (300-800) м/мин | 300 (150-450) м/мин | 300 (200-500) м/мин | 500 (300-800) м/мин |
| Подача на оборот (Fn) | 0.1 (0.03-0.2) мм/об | 0.1 (0.03-0.2) мм/об | 0.1 (0.03-0.2) мм/об | 0.1 (0.03-0.3) мм/об | 0.1 (0.03-0.3) мм/об | 0.1 (0.03-0.3) мм/об | 0.1 (0.03-0.3) мм/об |
Сравнение марок PCBN
| Класс | Winice | Tungaloy | Mitsubishi | Sumitomo | Sandvik | Kyocera | Hitachi | Dijet | NTK | Seco | Kennametal | Iscar | Taegutec | Widia | Walter | Ceratizit | Centech -EG |
|
| H | H10 | BNH10C | BXM10 BX330 BX530 |
MBC020 MB8025 |
BNC160 BNC200 BN250 BN1000 |
CB7015 CB7025 CB20 CB50 |
KBN525 KBN25C KBN25M |
BH200 | JBN245 | B36 | CBN060K CBN150 CBN010 CBN200 CBN300 CBN500 |
KB9610 KB16l0 KB5610 |
IB50 IB55 IB10H IB10HC |
KB50 TB650 |
WBH10C WBH10P WBH10U |
WCB30 WCB50 WCB80 |
CTL3215 TA100 |
MN03 |
| H20 | BNH20C | BXM20 BX361D BXA20 |
MBC020 BC8020 MB8025 MB825 |
BNC200 BN250 BNX20 BNX25 BN2000 |
CB7025 CB20 CB7035 |
KBN30M KBN35M KBN900 |
BH250 | JBN300 JBN330 |
B22 B36 B40 |
CH2540 CBN150 CBN010 CBN200 CBN300 CBN500 |
KB5625 KB1625 |
IB20H IB25HA IB25HC |
TB650 | WBH25P | WCB50 WCB80 |
CTL3215 TA120 |
MN05 | |
| H30 | BNH30C | BXA20 BXM20 BXC50 BX380 |
MBC020 BC8020 MB835 |
BNC300 BN350 BNX25 |
KBN35M KBN900 |
JBN300 JBN330 |
B22 B40 |
GH3515 CBN300 CBN500 |
KB5625 KB9640 KD120 |
IB25HA IB25HC |
WBH40C | TA201 | MN06 | |||||
| K | K10 | BNK10 | BX470 BX480 BX950 |
MB710 MB730 |
BNS800 BN7000 BN7500 BN500 BNC500 |
CB7525 CB7925 CB50 |
KBN60M KBN900 |
BH200 | JBN795 | B23 B30 B52 |
CBN200 CBN300 CBN300P CBN400C |
KB9640 KD120 KB1630 |
IB50 IB55 IB86 IB90 |
KB90A | WBK40U | WCB80 WCB50 |
TA120 TA201 CTL3215 |
MN04 |
| K20 | BNK20 | BXC90 BX90S |
MB730 MBS140 |
BNS800 | CB50 | KBN900 | BH250 | B23 B30 B52 |
CBN200 CBN300 CBN300P CBN400C |
KB9640 | IB90 IB85 |
WBK45U | CTL3215 | |||||
| S | S10 | BNS10 | BX950 | MB730 | BN7000 BK350 |
KBN65B KBN65M |
JBN795 | IB90 | KB90 | |||||||||
| S20 | BNS20 | BX470 BX480 |
MB4020 | BNS800 | CBN170 CBN010 |
KB1630 | IB05S IB10S |
KB90A | WBK45U | TA201 | ||||||||